GWM Targets High-Performance Vehicles With New Front-End Cooling System
- Forbidden Gearhouse

- Apr 28, 2025
- 1 min read

GWM has recently received a new patent on April 25, 2025, for a front-end heat dissipation structure specifically aimed at high-performance vehicles with larger capacity engines and more demanding cooling requirements.
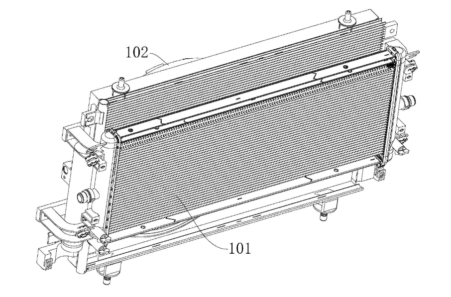
The new system introduces fully sealed air inlet and outlet guide channels positioned between the front bumper, radiator module, and bonnet. Incoming airflow is directed cleanly through the radiator and out through bonnet vents, reducing turbulence under the hood and improving both cooling performance and aerodynamic efficiency. The radiator is also positioned with a forward tilt from bottom to top, helping improve airflow speed across the core, reducing frontal area height, and lowering overall wind resistance — ideal for sports vehicles where engine output is high and space is limited.
Alongside this, GWM also holds an earlier patent from 2020 for an active front grille system, designed to open and close based on cooling needs. Although the active grille has not yet appeared on any production GWM models, when combined with the newly patented air guide structure, both systems could operate together to deliver highly efficient, dynamic airflow management.
Does this line up with the recent release of GWMs new 4L V8? Only time will tell.
The new approved patent specifically mentions "high-performance models with low streamlined bodies"
It says they have "high power output", "small front space", "cannot use large radiators"
It talks about strong acceleration, streamlined lightweight design, and racing attributes
It states that "traditional models" (normal cars) are different because they have more space and easier cooling
It talks about reducing wind resistance and boosting front downforce, which is critical for sports cars or performance vehicles.








Comments